各镇区人民政府(管委会),各街道办事处,公兴、硕集社区管委会,县各委、办、局,县各直属单位:
《阜宁县突发事件总体应急预案》已经县政府常务会议研究同意,现印发给你们,请认真贯彻落实。
特此通知。
阜宁县人民政府
2020年6月12日
(此件公开发布)
目 录
1 总 则
1.1 目的和依据
1.2 适用范围
1.3 突发事件的概念
1.4 工作原则
1.5 事件分类分级
1.6 分级应对与响应分级
1.7 现状分析
1.7.1 自然灾害
1.7.2 事故灾难
1.7.3 公共卫生事件
1.7.4 社会安全事件
1.8 应急预案体系
1.8.1 应急预案
1.8.2 应急预案支撑性文件
2 组织指挥体系
2.1 组织机构
2.1.1 领导机构
2.1.2 专项应急指挥机构
2.1.3 工作机构
2.1.4 镇区(街道、社区)机构
2.1.5 现场指挥部
2.1.6 社会组织和公众
2.1.7 专家组
2.2 应急联动机制
3 运行机制
3.1 风险防控
3.2 监测与预警
3.2.1 监 测
3.2.2 预 警
3.2.3 预警处置
3.2.4 调整、解除预警
3.2.5 预测预警支持系统
3.3 应急处置与救援
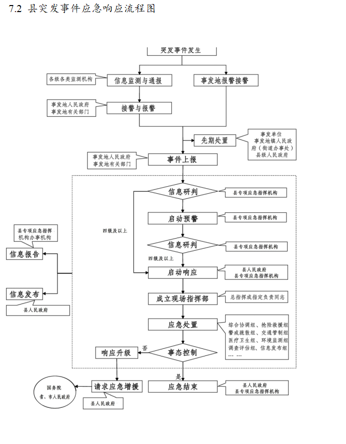
3.3.1 信息报告
3.3.2 先期处置
3.3.3 指挥协调
3.3.4 处置措施
3.3.5 信息发布与舆论引导
3.3.6 紧急状态
3.3.7 应急结束
3.4 恢复与重建
3.4.1 善后处置
3.4.2 调查与评估
3.4.3 恢复重建
3.4.4 社会救助
3.4.5 保险
4 保障措施
4.1 队伍保障
4.2 财力保障
4.3 物资保障
4.4 紧急避难场所和安全防护保障
4.5 治安保障
4.6 医疗卫生保障
4.7 交通运输保障
4.8 通信信息保障
4.9 公共设施保障
4.10 基础信息服务保障
4.11 科技与产业保障
5 预案管理
5.1 预案编制
5.2 预案审批与衔接
5.3 预案演练
5.4 预案评估与修订
5.5 宣传和培训
5.6 责任与奖惩
5.7 监督检查
6 附 则
7 附 件
7.1 县突发事件应对组织体系结构图
1 总 则
1.1 目的和依据
为预防和减少全县突发事件的发生,控制、减轻和消除突发事件初期的严重社会危害,规范突发事件应对活动,保护人民群众生命和财产安全,维护社会稳定和促进经济社会持续健康发展,根据《中华人民共和国宪法》《中华人民共和国突发事件应对法》《国家突发公共事件总体应急预案》《江苏省突发公共事件总体应急预案》《盐城市突发公共事件总体应急预案》等有关法律、规章及相关文件,结合本县实际,制定本预案。
1.2 适用范围
本预案主要适用于阜宁县行政区域内可能发生的或者已经发生的,需要由县人民政府负责处置的一般突发事件应急工作;以及配合上级应急处置指挥机构对发生在本县行政区域内的特别重大、重大或较大突发事件应急处置工作。
1.3 突发事件的概念
本预案所称突发事件是指突然发生,造成或者可能造成严重社会危害,需要采取应急处置措施予以应对的自然灾害、事故灾难、公共卫生事件和社会安全事件。
凡涉及到跨本县行政区域的,或超出本县人民政府处置能力的,或者需要由国务院、省、市人民政府负责处置的特别重大、重大、较大突发事件的应对工作,则依据《国家突发公共事件总体应急预案》《江苏省突发公共事件总体应急预案》《盐城市突发公共事件总体应急预案》进行处置。
1.4 工作原则
(1)以人为本,预防为主。坚持以人民为中心的思想,深入贯彻落实习近平总书记关于坚持底线思维、着力防范化解重大风险的重要论述,加强风险防范和应急准备,推进全县应急管理体系和能力现代化。弘扬生命至上、安全第一的思想,保障公众健康和生命财产安全,最大限度减少突发事件的发生及其危害。
(2)政府主导,社会协同。构建统一指挥、专常兼备、反应灵敏、上下联动的应急管理体制,引导社会和公众有序参与,充分发挥基层一线的作用。有效整合政府和社会资源,健全信息和资源共建共享机制。
(3)快速反应,科学应对。健全完善各类力量快速反应、联动协调机制,高效应对各类突发事件。强化应急装备技术支撑,依靠科技提高应对突发事件的科学化、专业化、智能化水平。
(4)信息公开,正确引导。及时、准确、客观、统一发布权威信息,认真回应社会关注,正确引导舆论。充分发挥新闻媒体的作用,提高宣传引导的导向性、针对性和有效性。
1.5 事件分类分级
突发事件主要包括以下类别:
(1)自然灾害:主要包括水旱灾害、气象灾害、地震灾害、地质灾害、林业火灾和生物灾害等。
(2)事故灾难:主要包括工矿商贸等企业的各类安全事故、交通运输事故、公共设施和设备事故、环境污染和生态破坏事件等。
(3)公共卫生事件:主要包括传染病疫情、群体性不明原因疾病、食品和药品安全事件、动物疫情以及其他严重影响公众健康和生命安全的事件。
(4)社会安全事件:主要包括恐怖袭击事件、群体性事件、网络与信息安全事件、油气供应中断突发事件、金融突发事件、涉外突发事件、民族宗教事件、舆情突发事件等。
各类突发事件按其社会危害程度、影响范围等因素分为特别重大突发事件(Ⅰ级)、重大突发事件(Ⅱ级)、较大突发事件(Ⅲ级)和一般突发事件(Ⅳ级)四级。具体分级标准执行国家有关规定。
分级标准是突发事件信息报送和分级处置的依据。
1.6 分级应对与响应分级
发生一般突发事件由县人民政府负责应对。当突发事件超出我县的应对能力时,由县人民政府提请市人民政府提供支援或者应对。涉及跨行政区域的,由有关行政区域共同的上一级人民政府负责应对,或者由各有关行政区域的上级人民政府共同负责应对。
突发事件发生后,县人民政府根据突发事件初判级别、应急处置能力以及预期影响后果,综合研判确定本层级响应级别。对于事件本身比较敏感,或发生在重点区域或重大活动举办、重要会议召开等时期的,可适当提高响应级别。应急响应启动后,可视突发事件事态发展情况及时对响应级别进行调整。
1.7 现状分析
阜宁县,属江苏省盐城市所辖县之一。地处江淮平原中部和江苏省沿海中部,县域面积1439平方公里,人口112万,辖沟墩镇、陈良镇、三灶镇、郭墅镇、新沟镇、陈集镇、羊寨镇、芦蒲镇、板湖镇、东沟镇、益林镇、古河镇、罗桥镇13个镇;阜城街道、吴滩街道、花园街道、金沙湖街道4个街道;硕集社区、公兴社区2个社区。
(一)阜宁县地理位置及气候特征
阜宁县隶属江苏省盐城市,背倚苏北平原,面临苏中水网,南与建湖县毗邻,北与滨海县接壤,东与射阳县相连,西与淮安市涟水县隔古黄河相望,西南与淮安市淮安区交界。阜宁县域大体呈南北向粗短左钩形;西部高亢,向东南、向东、向东北,渐趋低洼。阜宁县属北亚热带向暖温带过渡性气候,其特点是季风显著,四季分明;雨水充沛,雨热同季;日光充足,气候温和。
(二)阜宁县主要自然灾害类型
阜宁县地处苏中平原地区,也是江苏省东部沿海城镇之一,同时也位于气候过渡区,灾害性天气种类比较多,有洪涝、干旱、连绵阴雨、寒潮、大雾、冰雹、龙卷风、地震等。随着生态环境愈加多样化和复杂化,县域内自然灾害的类型也逐渐由单一灾种向多灾种组合方式演变,不同灾种对人类生活、社会经济活动的影响差异很大。
阜宁县危化品、烟花爆竹、冶金工贸、城市燃气、建筑施工、交通运输、水上交通、人员密集场所、特种设备、渔业船舶、农业农机、水利工程、电力设施、旅游等行业领域生产经营企业单位众多,安全生产风险点多面广量大。突出表现在交通运输风险总量大、消防风险压力重、城市安全风险系数高、旅游安全风险凸显、工商贸领域风险基数大、重点行业领域风险因素多等方面。
阜宁县地处里下河地区、淮河流域下游,饮用水源地水质受上游影响有可能发生饮用水污染。同时,由于我县人口总量多、密度大,人员流动频繁,呼吸道疾病、传染病、动物疫病、食物中毒等问题时有发生。一旦发生上述公共卫生事件,处置难度较大。
由于全县的各项改革正向纵深推进,社会利益关系更加错综复杂,因各方面利益调整问题有可能引发群体性事件。国内外金融市场的剧烈变化、能源短缺以及突发事件有可能在我县引发银行挤兑、物价异常波动、能源(气、电、油)以及生活必需品供应严重短缺等经济安全事件。面对国际国内严峻复杂的反恐怖斗争形势,不排除在阜宁县境内发生恐怖袭击事件的可能性。
1.8 应急预案体系
县突发事件应急预案体系按照制定主体划分为政府及其部门应急预案、基层组织和单位制定的各类突发事件应急预案,以及为应急预案提供支撑的工作手册和事件行动方案。
政府及其部门应急预案由各级人民政府及其部门制定,包括总体应急预案、专项应急预案、部门应急预案等。其中,总体应急预案是县应急预案体系的总纲,是县人民政府组织应对各类突发事件的总体制度安排;专项应急预案是为应对涉及面广、情况复杂的某一类突发事件,预先制定的涉及多个部门(单位)的工作方案;部门应急预案是有关部门为应对本部门(行业、领域)某一类突发事件,或者针对应急资源保障等涉及部门工作而预先制定的工作方案。
基层组织和单位应急预案是机关、企事业单位、社会组织等法人和基层自治组织,针对本单位面临的风险,所制定的应对突发事件的工作方案。
应急预案支撑性文件包括工作手册和事件行动方案。工作手册是预案涉及的有关部门和单位对自身职责任务进一步分解细化的工作方案,是本单位应对突发事件的工作指南。事件行动方案是参与突发事件应对的现场指挥机构、救援队伍、专家队伍等按照应急预案、工作手册或上级指挥机构要求,根据现场实际情况制定的工作方案。
2 组织指挥体系
2.1 组织机构
在县委领导下,县人民政府是本县范围内突发事件应急管理工作的行政领导机关。县人民政府统筹制定全县应急管理工作发展规划和政策措施,研究解决全县应急体系规划、风险防控、应急准备、处置救援等重大问题,统一指挥协调全县各类突发事件防范应对工作。
在县人民政府的统一领导下,发生单一类型一般以上突发事件时,县专项应急指挥机构依据县级突发事件专项应急预案,承担相关类别突发事件防范和处置的组织、指挥、协调工作。县专项应急指挥机构总指挥由县人民政府指定的负责同志担任,成员由突发事件主要牵头部门和有关单位组成。当发生涉及多个类型一般以上的突发事件或超出县专项应急指挥机构处置能力的突发事件时,由县人民政府统一领导、指挥协调突发事件应急处置工作。
县有关部门和单位按照职责分工负责本部门(行业、领域)突发事件应急管理工作;承担相关类别突发事件专项和部门应急预案的起草和实施;在县人民政府或县专项应急指挥机构的统一指挥下,协助完成各类突发事件防范和应对工作。
各镇区(街道、社区)人民政府(办事处、管委会)是本行政区域内突发事件应急管理工作的行政领导机关,负责本行政区域内各类突发事件的先期应对工作,并协助县人民政府有关部门依法履行突发事件应对工作职责。
突发事件发生后,事发地镇区(街道、社区)人民政府(办事处、管委会)或专项应急指挥机构视情设立现场指挥部,组织、指挥、协调突发事件现场先期应急处置工作。现场指挥部可根据需要设立综合协调、治安交通管制、工程抢险、医疗救护、信息报送、新闻宣传、物资保障、交通运输、环境处理、人员疏散和安置、调查评估、专家支持、善后处理等工作组。
涉及单一类型的一般突发事件发生后,县专项应急指挥机构设立现场指挥部。涉及多个类型的一般突发事件发生后,县人民政府设立现场指挥部。
社会组织是县突发事件应急管理的重要力量,包括公益组织、志愿者组织、民间应急救援队伍等。基层社区和公众是突发事件应急管理的社会基础,应积极发挥其安全隐患排查与消除和突发事件先期处置、信息报告、自救互援等作用。
2.1.7 专家组
县人民政府及其有关部门、各专项应急指挥机构应建立突发事件防范应对专家库,事发后根据需要抽调有关专家组成专家组,开展突发事件应急处置和救援、调查评估等决策咨询服务工作。县人民政府会同有关部门组织成立本级应急管理专家委员会,研究应急管理重大问题,提出全局性、前瞻性政策措施建议。
2.2 应急联动机制
县专项应急指挥机构应与有关上级驻阜单位、驻阜部队、武警部队和民兵预备役建立应急联系渠道,通报有关突发事件信息,共同组织应急演练,形成应急联动体系。
发生特别重大、重大和较大突发事件时,为提高处置效率,组织各有关部门和单位迅速进入应急状态,根据应急处置需要,经县人民政府授权,现场指挥部可临时成立若干应急工作组,配合上级政府及部门开展应急工作。
3 运行机制
3.1 风险防控
(1)县、镇区(街道、社区)应当建立突发事件风险调查和评估制度,依法对各类风险点、危险源进行调查、辨识、评估、分级、登记,建立台账,定期进行检查、监控,责令有关单位采取安全防范措施,并建立信息共享机制。有关部门要按照职责分工对可能发生的突发事件进行综合性评估和趋势分析,研究制定风险分级分类标准和管理办法。突发事件主要牵头部门于每年年底对下一年度突发事件发生发展趋势进行研判和预测分析,并跟踪研判,提出防范措施建议,报本级人民政府,抄送应急管理部门。
(2)县、镇区(街道、社区)应当建立完善社区、村(居)、重点单位网格化风险防控体系,落实风险管控措施,及时发现和处置各类风险和隐患。有关部门要对重大风险点和危险源,制定防控措施、整改方案和应急预案,做好监控和应急准备工作。对一些影响大、群众反映强烈的普遍性和倾向性社会问题,属地和主管部门要采取治本措施,力求从根本上解决。
(3)县、镇区(街道、社区)城乡规划应当充分考虑公共安全风险因素,从符合预防和处置突发事件工作的需要方面,统筹安排应对突发事件所必需的设备和基础设施建设。要加强城乡防灾减灾能力建设,抓好源头治理为重点的安全生产基础能力建设,完善城乡医疗救治体系和疾病预防控制为重点的公共卫生保障体系,健全利益协调机制、诉求表达机制、矛盾调处机制为重点的社会安全基础能力建设。
3.2 监测与预警
县、镇区(街道、社区)建立健全突发事件监测制度,整合监测信息资源,完善信息资源获取和共享机制。各类事件牵头部门按职责负责自然灾害类、事故灾害类、公共卫生类和社会安全类突发事件监测信息集成,其他突发事件牵头响应部门负责相应突发事件监测信息集成。
县、镇区(街道、社区)及县各专项应急机构根据积累的监测资料,建立突发事件常规数据库,各有关单位应提供相关数据和信息,支持、配合突发事件常规数据库建设。各专项应急机构办公室负责做好常规数据库的监测资料更新工作。常规数据库主要内容包括:
(1)可能诱发各类突发事件的信息;
(2)主要危险物质和重大危险源的种类、特性、储量、分布及有关内容;
(3)潜在的重大安全事故、自然灾害类型及影响区域;
(4)严重损害社会公众健康的重大传染病疫情、群体性不明原因疾病发生的类型、影响区域及后果;
(5)城市区域分布、地形地貌、地质构造、交通和基础设施情况,重要保护目标及其分布,常年季节性的风向、风速、气温、雨量等气象条件,人口数量、结构及其分布;
(6)应急力量的组成、分布及其应急能力,应急设施和物资的种类、数量、特性及分布,上级救援机构或相邻地区可用的应急资源;
(7)可能影响应急救援的不利因素;
(8)数据库其他内容由县各专项应急指挥机构确定。
(1)确定预警级别
对可以预警的自然灾害、事故灾害或公共卫生事件,有关部门收集对突发事件可能发生的征兆信息后,组织分析评估,研判突发事件发生的可能性、强度和影响范围以及可能发生的次生衍生突发事件类别,确定预警级别。按照紧急程度、发展势态和可能造成的危害程度,预警级别分为一级、二级、三级和四级,分别用红色、橙色、黄色和蓝色标示,一级为最高级别。预警级别的划分遵照中央和国家牵头部门制定的标准执行。
(2)预警信息发布
县各专项应急机构按照各自职责,根据有关规定,对突发事件预警级别进行研判,必要时提请专家组协助研判或上报县有关部门研判。研判后,及时向镇区(街道、社区)提出相应的预警建议。
经过研判,预见到不可避免的特别重大、重大、较大突发事件,县人民政府应迅速向省、市人民政府报告;预见到一般突发事件,视具体情况由县人民政府发布四级预警。
预警级别确定后,由县人民政府或其委托的部门负责向社会发布预警信息。预警信息内容包括突发事件名称、预警级别、预警区域或场所、预警起始时间、影响估计及应对措施、发布机关等。预警信息可以通过广播、电视、报刊、通信、信息网络、警报器、宣传车、大喇叭或组织人员逐户通知等方式进行发布。对老、幼、病、残等特殊人群以及学校、医院等特殊场所和通信、广播、电视盲区、偏远地区的人群,应当采取有针对性的公告方式播发预警信息。承担应急处置职责的相关单位接收到预警信息后,应及时向发布预警信息的单位反馈接收结果。有关预警信息内容变更或解除,发布单位应当及时发布变更或解除信息。
3.2.3 预警处置
国家或省、市发布一级、二级、三级预警,且本行政区域处于突发事件影响范围之内,县人民政府及各有关部门和应急机构要迅速进入应急准备状态,做好启动县突发事件总体应急预案和相关专项应急预案的准备。
发布四级预警后,县、镇区(街道、社区)应及时采取增加观测频次、加强预报、组织应急救援队伍进入待命状态、转移和疏散人员等必要的处置措施,尽可能控制和消除事态扩大,并做好启动本县总体应急预案的准备。
3.2.4 调整、解除预警
发布预警信息的人民政府、各相关专项应急指挥机构或部门应当加强对预警信息动态管理,根据事态发展变化,适时调整预警级别、更新预警信息内容,及时报告、通报和发布有关情况。有事实证明不可能发生突发事件或者危险已经解除的,发布预警信息的人民政府、各相关专项应急指挥机构或部门应当立即宣布解除警报,终止预警期,并解除已经采取的有关措施。
3.2.5 预测预警支持系统
(1)县、镇区(街道、社区)要加强突发事件预测预警系统建设,充分利用现代化技术监测手段,提高各类突发事件预测信息的及时性、准确性、科学性。县发改、公安、市场监管、水务、交运、卫健、教育、农业农村、自然资源和规划、生态环境、住建、应急、工信、民政、综合行政执法、气象、商务、民宗、文广旅、消防救援等部门要加快数字化监测基础设施建设,强化专业预测预警信息系统建设,确保能够高效、快捷地传递及反馈预测预警信息。
(2)县人民政府会同县相关部门和单位,以有线和无线通信网络、电子政务网以及应急指挥专网为网络基础,利用现代信息网络和多媒体技术,建立全县应急管理信息化综合管理系统,逐步实现对各类突发事件预测预警信息跨区域、跨部门联合与共享,保证县人民政府能够及时、全面、直观地掌握突发事件的有关情况。
3.3 应急处置与救援
(1)县人民政府及有关部门建立风险排查和风险信息收集、风险隐患报告、突发事件报告、灾情统计报告等制度和职责。突发事件发生或发现重大风险隐患后,事发单位及时向所在地人民政府及其有关主管部门报告突发事件信息。事发地镇区(街道、社区)按照有关规定向县人民政府及其有关部门报送突发事件信息。
(2)对于本身比较敏感或发生在重点地区、重要时期,或可能演化为较大、重大、特别重大突发事件的,不受突发事件分级标准限制。
(3)接到突发事件信息后,镇区(街道、社区)要立即如实向县人民政府及相关部门报告,最迟不得超过1小时,不得迟报、谎报、瞒报和漏报,同时通报可能受影响的地区和部门。
(4)涉及港澳台侨、外籍人员,或影响到境外的突发事件,需要向有关国家、地区、国际机构通报的,按照相关规定办理。
(1)事发单位要立即组织本单位应急救援队伍和工作人员营救受害人员,疏散、撤离、安置受威胁人员;控制危险源,标明危险区域,封锁危险场所,并采取其他防止危害扩大的必要措施;迅速控制可疑的传染源,积极救治病人,组织医疗卫生人员加强个人防护;向县人民政府及其有关部门和单位报告。对因本单位的问题引发的或主体是本单位人员的社会安全事件,有关单位要迅速派出负责人赶赴现场开展劝解、疏导工作。
(2)突发事件发生后,发生地镇区(街道、社区)人民政府(办事处、管委会)应当立即依法组织先期处置,采取有力措施控制事态发展或灾情蔓延。
(3)事发地镇区(街道、社区)人民政府(办事处、管委会)调动应急队伍,采取措施控制事态发展,组织开展先期应急处置与救援工作,并及时向县人民政府报告。
(4)事发地村(居)民委员会、企业事业单位等,应当在第一时间组织群众开展自救互救,并服从人民政府或相关部门的决定,配合做好应急处置工作,协助维护社会秩序。
(1)组织指挥。县人民政府及相应部门指导事发地镇区(街道、社区)开展应对工作。县级组织指挥机构设立后,应按要求做好应急处置与救援有关工作。事发地镇区(街道、社区)政府(办事处、管委会)对本行政区域内各类突发事件应对负有属地管理责任,要切实负起突发事件应对责任,按照县人民政府要求组织实施应急处置工作。
(2)现场指挥。县人民政府设立现场指挥机构时,各镇区(街道、社区)的组织指挥机构应纳入县级现场指挥机构,在县级现场指挥机构的统一领导下组织开展突发事件应对工作。现场的各方面应急力量要在现场指挥机构的统一指挥协调下开展应急处置与救援工作。
(3)协同联动。驻阜部队、武警部队和消防救援队伍在县人民政府的统一领导下参加突发事件应急处置和救援,按规定的指挥关系和指挥权限指挥。社会组织参与突发事件应急处置与救援,纳入现场指挥机构统一管理、统一调动、统一行动。应急指挥机构根据突发事件现场实际情况,及时调度指挥相关应急资源开展应急处置与救援行动,现场所有应急力量要服从现场指挥机构的统一指挥协调。
(1)自然灾害、事故灾难或者公共卫生事件发生后,县人民政府应采取下列一项或者多项应急措施:
①现场信息获取。组织现场人员、应急测绘和勘察队伍等,利用无人机、雷达、卫星等手段获取现场影像,分析研判道路桥梁,通信、电力等基础设施和居民住房损毁情况,重要目标物、人员密集场所和人口分布等信息,提出初步评估意见,并向现场指挥机构和有关部门报告。
②组织营救受灾和被困人员,疏散、撤离并妥善安置受威胁人员,必要时组织动员社会应急力量有序参与应急处置和受灾人员救援工作。
③组织救治伤员,治疗传染病人和疑似病例,隔离传染源,观察密切接触者,对易感染人群采取应急接种、预防性服药的措施,加强卫生防疫知识宣传。
④迅速组织开展抢险工作,控制危险源、减轻或消除危害,并标明危险区域,封锁危险场所,划定警戒区,实行交通管制以及其他控制措施,交运、公安等有关部门要保证紧急情况下应急交通工具的优先安排、优先调度、优先放行,确保抢险救灾物资和人员能够及时、安全送达。
⑤立即抢修被损坏的交通、通信、供(排)水、供电、供气、供热等公共设施,短时难以恢复的,要实施临时过渡方案,保障社会生产生活基本需求。
⑥禁止或者限制使用有关设备、设施,关闭或者限制使用有关场所,中止人员密集活动或者可能导致危害扩大的生产经营活动以及采取其他保护措施。
⑦启用本级人民政府设置的财政预备资金和储备的应急救援和救灾物资,必要时征用其他急需物资、设备、设施、工具。
⑧做好受灾群众的基本生活保障工作,提供食品、饮用水、衣被、燃料等基本生活必需品和临时住所,开展卫生防疫工作,确保灾区群众有饭吃、有水喝、有衣穿、有住处、有病能及时医治,确保大灾之后无大疫。
⑨开展遇难人员善后处置工作,妥善处理遇难人员遗体,做好遇难人员家属安抚等工作。
⑩组织开展救灾捐赠活动,接收、管理、分配救灾捐赠款物。
⑪依法从严惩处囤积居奇、哄抬物价、制假售假等扰乱市场秩序的行为,稳定市场价格,维护市场秩序。
⑫依法从严惩处哄抢财物、干扰破坏应急处置工作等扰乱社会秩序的行为,维护社会治安。
⑬采取防止发生次生、衍生灾害和事件的必要措施。
(2)社会安全事件发生后,事发地人民政府要立即组织有关部门针对事件的性质和特点,采取下列应急措施:
①尽快了解和分析事件起因,有针对性地开展法制宣传和说服教育,及时疏导、化解矛盾和冲突。
②维护现场治安秩序,对使用器械相互对抗或以暴力行为参与冲突的当事人实行强制隔离,妥善解决现场纠纷和争端,控制事态发展。
③对特定区域内的建筑物、交通工具、设备、设施以及燃料、燃气、电力、水的供应进行控制,必要时依法对网络、通信进行管控。
④封锁有关场所、道路,查验现场人员的身份证件,限制有关公共场所内的活动。
⑤加强对易受冲击的核心机关和单位的警卫,附近设置临时警戒线,加强对重点敏感人员、场所、部位和标志性建筑的安全保护。
⑥严重危害社会治安秩序的事件发生时,立即依法出动警力,加大社会面检查、巡逻、控制力度,根据现场情况依法采取相应的强制性措施,尽快使社会秩序恢复正常。
⑦法律法规等规定的其他必要措施。
县应急指挥机构要制定统一的信息发布与舆论引导方案,与突发事件应对处置工作同时研究、同时部署、同步行动。
(1)县人民政府或应急指挥机构要在事件发生后的第一时间通过权威媒体向社会发布简要信息,最迟要在5小时内发布权威信息,随后发布初步核实情况、政府应对措施和公众防范措施等,并在24小时内举行新闻发布会,根据突发事件处置情况做好后续发布工作。
(2)信息发布形式主要包括授权发布、提供新闻通稿、组织报道、接受记者采访、举行新闻发布会等,通过县主要新闻媒体、有关政府网站、移动新媒体和手机短信等发布信息,具体按照有关规定执行。
(3)加强网络媒体和移动新媒体信息发布内容管理和舆情分析,引导网民依法、理性表达意见,形成积极健康的社会舆论。参与突发事件应急处置工作的各有关单位和个人不得擅自对外发布相关信息。任何单位和个人不得编造、传播有关突发事件事态发展或者应急处置工作的虚假信息。
发生或者即将发生突发事件,采取一般处置措施无法控制和消除其严重社会危害,需要宣布进入紧急状态的,应依法决定。进入紧急状态的决定应当依法立即通过广播电台、电视台等新闻媒体公布。
突发事件应急处置工作结束,或相关威胁和危害得到控制、消除后,县人民政府或应急指挥机构可宣布应急结束,逐步停止有关应急处置措施,应急救援队伍和工作人员有序撤离。同时,采取或者继续实施必要措施,防止发生次生、衍生事件或者重新引发社会安全事件。现场指挥机构停止运行后,通知相关方面解除应急措施进入过渡时期,逐步恢复生产生活秩序。
3.4 恢复与重建
县人民政府根据本地区遭受损失的情况,制定救助、补偿、抚慰、抚恤、安置等善后工作方案,对突发事件中的伤亡人员、应急处置工作人员,以及紧急调集、征用有关单位及个人的物资,按照规定给予抚恤、补助或补偿,并提供心理咨询及司法援助,妥善解决因处置突发事件引发的矛盾和纠纷。有关部门要做好疫病防治和环境污染消除工作。保险监管机构要组织、督促有关保险机构及时开展查勘和理赔工作。
(1)发生特别重大、重大、较大突发事件,县人民政府应派出调查人员配合国家、省、市人民政府调查组进行调查。发生一般突发事件,视具体情况,由县人民政府组成调查组进行调查或由县人民政府指派相关部门查清事件性质,查明事件发生的原因和责任,查实人员伤亡和经济损失情况,制定改进措施。
(2)县各专项应急机构每年1月底之前,要对上年度发生的突发事件进行全面总结和评估,并将总结和评估情况向县人民政府作出报告。
受突发事件影响的镇区(街道、社区)应及时制订恢复重建计划和善后处理措施,尽快组织修复被损坏的交通、水利、通信、供水、排水、供电、油气、广播电视等公共设施,有序开展恢复重建工作。必要时,提请县人民政府提供恢复重建资金、物资支持和技术指导。
(1)突发事件应急处置结束后,由县人民政府指定相关部门牵头组织做好有关社会救助工作。事发地镇区(街道、社区)和相关部门应提供临时场所安置受到突发事件影响而疏散的群众,及时组织救灾物资,调拨、发放生活必需品,保障灾民基本生活。
(2)规范和完善司法救助程序,建立和完善社会心理援助体系。司法行政部门负责对需要司法救济的单位和个人提供法律援助,教育、卫健部门和工会、共青团、妇联、红十字会等群团组织,可组织有关方面的专家,向特定人群提供社会心理援助。
(3)建立健全社会性救济救助制度,根据救灾工作需要,在一定范围内组织动员社会各界开展救灾捐赠活动,民政部门、红十字会和慈善机构发动社会、个人或境外机构展开救助,并按有关规定负责管理捐赠款物的接受、分配、运输、发放工作。司法部门负责对需要法律援助的机构和人员提供司法救助。纪委监委机关和民政、财政、审计等部门负责对社会捐赠资金和物资实行全过程管理和监督,确保救助资金和物资用于受灾地区和灾民。
突发事件发生后,保险机构应及时派员对突发事件造成的人员伤亡、财产损失做好保险理赔工作。鼓励易受自然灾害影响的公民、法人和其他组织购买财产或人身意外伤害保险。
有关部门应强制要求从事高度危险生产活动的企业依法购买安全责任险。
4 保障措施
4.1 队伍保障
(1)综合性消防救援队伍。综合应急救援队伍是应急救援的主力军,县人民政府要加强消防救援队伍的建设,提供必要的支持保障。
(2)专业应急救援队伍。专业应急救援队伍是应急救援的骨干力量。县应急、工信、公安、自然资源和规划、生态环境、交运、水务、住建、农业农村、文广旅、卫健、新闻宣传等部门依据职能分工和实际需要,在应急管理部门的统筹指导下,建设和管理本行业、本领域的专业应急救援队伍,提高人员素质,加强装备建设。
(3)驻阜部队和武警部队应急救援力量。驻阜部队和武警部队是应急救援的突击力量,按照突发事件应急响应的要求,协助县人民政府做好应急救援和处置工作。
(4)基层应急队伍。基层应急队伍是应急救援的先期力量。鼓励镇区(街道、社区)和企事业单位整合各类应急资源,推进“专兼结合、一队多能”的综合性应急队伍建设,发展灾害信息员、气象信息员等“一员多职”应急信息员队伍。
(5)社会应急队伍。社会应急队伍是应急救援的辅助力量。县人民政府及其有关部门要制订相关政策措施,充分发挥红十字会和共青团作用,鼓励企事业单位和社会组织等有序参与应急救援和服务。
(6)应急队伍调动。一般以公安、医疗卫生等应急队伍为主体进行先期处置,县相关专项应急机构和有关部门、单位组织应急队伍进行后续处置。必要时,组织驻阜部队、武警部队增援,并动员社会志愿者队伍辅助抢险救援。
(7)县各专项应急机构应制定应急队伍组织保障方案,结合各相关部门、单位的工作和生产,积极开展专业技能培训和应对突发事件的演练,检验应急队伍的快速反应能力,提高各部门之间协调配合和现场处置能力,实现对突发事件管理的规范化和程序化。
建立健全应急队伍跨区域的交流与合作机制。建立健全跨区域应急救援合作机制,积极参与国家、省、市应急救援行动。
4.2 财力保障
(1)县、镇区(街道、社区)应当将应急预案编制、平台建设、物资储备、培训和宣传教育、救援队伍建设和演练,以及监测与预警等工作所需经费纳入同级财政预算,并与地方经济社会发展水平相适应,保障突发事件防范和应对工作所需经费。财政和审计部门对突发事件财政应急保障资金的使用和效果进行监管和评估。
(2)对受一般突发事件影响较重的行业、企事业单位和个人,县人民政府有关部门及时研究提出相应的补偿或救助方案,报县人民政府批准。
(3)鼓励公民、法人或其他组织按照《中华人民共和国慈善法》《中华人民共和国公益事业捐赠法》等有关法律的规定,为应对突发事件提供物资、装备、资金、技术支持和捐赠。
(4)建立健全灾害风险保险体系,鼓励单位和公民参加保险。推行安全生产、环境污染和食品安全责任保险等。安排应急救援人员参与可能发生人身危险的抢险救援行动前,应当为其购买相应的人身意外伤害保险。
4.3 物资保障
(1)应急管理部门会同发改、财政等部门制定应急物资储备规划并组织实施。商务部门负责生活必需品市场监测和保障市场供应工作。发改、财政、应急等部门按照职能分工,建立健全县重要应急物资保障系统,完善重要应急物资监管、生产、储备、调拨和紧急配送体系。
(2)县人民政府根据有关法律、法规和应急预案的规定,做好物资装备储备工作或与有关企业签订协议,与相邻地区建立应急物资调剂供应渠道,保障应急救援物资、生活必需品和应急处置装备的生产、供给。
(3)按照“合理配置,资源共享”原则,由县相关职能部门根据应急救援需要,各自建立专项物资储备制度。县发改委、应急管理局等综合管理部门负责组织、协调应急救援物资的紧急调拨和供应;县卫健委负责协调突发事件应急救治药品、医疗器械、医疗防护用品、消毒产品的供应;县市场监管局负责对应急救治药品、医疗器械实施监管,保证所用药品、医疗器械的安全有效;县发改委负责粮食的应急供应。其他各有关部门和单位要根据自身职责,加强对常用应急储备物资的管理,及时予以补充更新。
(4)应急处置工作中救援物资的调用,由县人民政府组织协调,指令组织各相关部门实施。县各有关部门要建立健全应急救援物资储备、调拨和紧急配送方案,确保应急处置所需的物资器材和生活必需品的应急供应。
鼓励和引导社区、企业事业单位和家庭储备基本的应急自救物资和生活必需品。
4.4 紧急避难场所和安全防护保障
(1)县、镇区(街道、社区)应将紧急避难场所建设纳入经济和社会发展的总体规划及城市总体规划、村镇建设规划。
(2)县、镇区(街道、社区)应当根据本地经济社会发展实际情况,规划、建设突发事件紧急避难场所。必要时,可征用机关、团体、学校等场所以及经营性宾馆、招待所、酒店、文化娱乐场所作为临时避难场所。县城范围内的紧急避难场所的指定或建立以及临时避难场所的征用工作,由县人民政府确定。
(3)各专项应急机构应当建立紧急避难场所信息库,掌握其地点、功能、可容纳人数、目前使用情况等信息。必要时,依法征用相关方面的场地、房屋,作为临时安置点。
(4)县人民政府及有关部门要为涉险人员和应急救援人员提供符合要求的安全防护装备,采取必要的防护措施,严格按照程序开展应急救援工作,确保人员安全。
4.5 治安保障
(1)县公安局负责应急处置治安保障任务,制定不同类别、级别突发事件应急状态下维护治安秩序的应急行动方案,明确警力集结、布控方案、执勤方式和行动措施等事宜。
(2)发生突发事件后,县公安局要迅速组织在事件现场周围设立警戒区和警戒哨,做好现场控制工作,对重点区域场所、人群、物资设备和救灾设施加强防护保护,严厉打击趁机打劫和制造事端的违法犯罪活动。必要时依法采取有效管制措施,控制事态维护社会秩序。
(3)基层组织和社会保安队伍组织应积极发动和组织群众,开展群防群治,协助公安部门维护社会治安,实施治安保卫工作。
4.6 医疗卫生保障
(1)县卫健委负责组建卫生应急专业技术队伍,根据需要及时赴现场开展医疗救治、疾病预防控制、卫生监督等卫生应急工作。对危险化学品事故、放射性污染事故的伤员,及时安排到相应的专业医院救治,并及时检查、监测灾区的食品、饮用水源、放射源安全情况。
(2)县卫健委负责应急医疗卫生保障工作,建立动态数据库,明确全县医疗救治和疾病预防控制机构的资源分布、救治能力和专业特长等,整合应急医疗卫生资源,依托全县医院组建应急医疗救护队伍,疾病控制和卫生监督机构组建应急处置队伍,制定不同类别突发事件的应急准备措施。
(3)事发地急救医疗机构负责院前急救,各级医院急诊开放急救“绿色通道”,负责后续救治。红十字会等群众性救援组织应积极配合专业医疗队伍,开展群众性应急救护工作。卫生行政部门会同有关部门储备必要药品、医疗器械,加强特殊医院、病房建设,制订医疗卫生设备、物资调度等应急方案。
4.7 交通运输保障
(1)公安、交通运输等部门负责应急运输保障工作,科学配置和使用应急运输力量,形成快速、高效、顺畅、协调的应急运输条件。
(2)发生特别重大、重大、较大或一般突发事件后,县公安、交运、住建等部门负责应急处置交通保障的组织、实施。及时对现场和相关通道实行交通管制,组织开通应急救援“绿色通道”,负责交通工具的保障,确保救灾物资、器材和人员的紧急输送。
(3)交通设施、工具受损时,县有关部门应会同事发镇区(街道、社区)迅速组织力量进行抢修,尽快恢复被毁坏的交通设施,保障交通路线的畅通。
4.8 通信信息保障
(1)县、镇区(街道、社区)应加强各级综合应急平台和专业应急平台建设,推动应急平台之间互联互通、数据交换、系统对接、信息资源共享,提高应急平台的智能化、规范化和实效性,增强信息汇集、辅助决策、指挥调度能力。
(2)工信部门应牵头督促各电信运营企业(移动、电信、联通)加强通信保障系统的维护,并制定通信系统备用方案和应急处置预案。广电部门应加强应急广播电视保障系统的建设维护,提升应急信息传播能力。
(3)县各专项应急机构制定本机构办公场所通信保障方案,制作参与应急的各相关部门、单位及有关人员通讯录,确保应急期间联络畅通。
4.9 公共设施保障
县、镇区(街道、社区)应当合理确定应急疏散基地(地域)和应急避难场所,统筹安排必需的供水、供电、排污等基础设施,注重日常维护和管理,保证其正常使用。完善紧急疏散管理办法和程序,明确责任人,确保在紧急情况下公众安全、有序转移或疏散到应急避难场所或其他安全地带。
公共交通工具、公共场所和其他人员密集场所的经营管理单位要制定具体方案,为交通工具和有关场所配备报警装置和必要的应急救援设备、设施,注明其使用方法,显著标明安全撤离的通道、路线,并保证畅通。有关单位要定期检测、维护报警装置和应急救援设备、设施,确保正常使用。
4.10 基础信息服务保障
气象部门要加强灾害性天气监测、预报和预警,及时提供气象分析资料,为应急处置提供气象信息服务。
水务部门要及时提供水情的监测、预报和预警,为应急处置提供水文资料和信息服务。
建立并规范数据采集、维护、交换、更新长效机制,形成应急基础数据“一张图”,做好应急平台和基础数据信息系统建设对接,实现监测、监控、预警等工作信息化。
4.11 科技与产业保障
县、镇区(街道、社区)根据国家应急平台体系技术要求建立健全本行政区域综合应急平台和专业应急平台,配置移动指挥系统,实现互联互通、资源共享,共同承担突发事件的监测监控、预测预警、值守应急、信息报告汇总与发布、视频会商、综合研判、辅助决策、指挥协调、资源调用和总结评估等工作。
(1)建立健全全县应急指挥系统体系。县、镇区(街道、社区)有关部门要充分利用现有政府系统办公业务资源和专业系统资源,建立县、镇区(街道、社区)二级应急指挥平台,满足突发事件监测监控、预测预警、值守应急、信息报告汇总与发布、视频会商、综合研判、辅助决策、指挥协调、资源调用和总结评估等功能。
(2)建立应急处置工作科学决策咨询机制。对灾害事故应急处置实施重大决策和行动时,充分发挥专家组和各类专家的作用,建立事故(灾害)后果评价系统,及时进行科学论证和咨询。
(3)县各专项应急机构建立与专家组成员的联系制度。将专家组组成人员的基本资料、联系方式报送县应急管理部门,建立专家数据库。
5 预案管理
5.1 预案编制
(1)县应急管理部门要会同有关部门和单位针对本行政区域内突发事件历史情况和重大风险,制定本级突发事件总体应急预案、专项预案和部门应急预案制修订工作规划。
(2)编制应急预案应当在风险辨识、评估和应急资源调查的基础上进行,以确保应急预案的完整性、针对性和可操作性。
(3)县人民政府及其有关部门在应急预案编制过程中,应广泛听取有关部门、单位和专家的意见。涉及其他单位职责的,应当书面征求相关单位意见。必要时,向社会公开征求意见。基层组织和单位应急预案编制过程中,应根据法律、行政法规要求或实际需要,征求相关公民、法人或其他组织的意见。
5.2 预案审批与衔接
(1)各级各类应急预案衔接遵循“下级服从上级,专项、部门服从总体,预案之间不得相互矛盾”的原则。县应急管理局负责协调各类应急预案衔接工作。
(2)总体应急预案应当经县人民政府常务会议审议,以本级人民政府名义印发实施,报市人民政府备案。
(3)专项应急预案应当经县人民政府审批,必要时经县人民政府常务会议或专题会议审议,以县人民政府办公室名义印发实施,报市人民政府主管部门和应急管理部门备案。
(4)部门应急预案应当经部门有关会议审议,经批准印发实施,报县人民政府和市人民政府主管部门备案。
(5)基层组织和单位应急预案经基层组织或本单位签发,并按照有关法律法规要求向有关部门备案。
(6)重要基础设施保护、重大活动保障和跨区域应急预案向有关行业主管部门和应急管理部门备案。
(7)应急预案支撑性文件的审批程序由制定单位根据实际情况确定。
5.3 预案演练
(1)应急预案编制单位应当建立应急演练制度,根据实际情况采取实战演练、桌面演练等方式,组织开展人员广泛参与、处置联动性强、形式多样、节约高效的应急演练。
(2)县、镇区(街道、社区)及其有关部门和单位应当根据应急预案组织综合应急演练和专项应急演练,必要时可以组织跨行业的应急演练,提高快速反应和整体协同处置能力。
(3)村居民委员会、企业事业单位也要结合实际经常开展应急演练。
5.4 预案评估与修订
(1)应急预案编制单位应当建立定期评估制度,分析评价预案内容的针对性、实用性和可操作性,实现应急预案的动态优化和科学规范管理。
(2)有下列情形之一的,应当及时修订应急预案:
①依据的法律、法规、规章、标准及上位预案中的有关规定发生重大变化的;
②应急指挥机构及其职责发生调整的;
③安全生产面临的风险发生重大变化的;
④重要应急资源发生重大变化的;
⑤在应急演练和事故应急救援中发现需要修订预案的重大问题的;
⑥编制单位认为应当修订的其他情况。
(3)应急预案修订涉及组织指挥体系与职责、应急处置程序、主要处置措施、响应分级标准等重要内容的,修订工作应按照本预案“预案审批与衔接”部分有关要求组织进行。仅涉及其他内容的,修订程序可适当简化。
5.5 宣传和培训
(1)县人民政府及其有关部门、镇区(街道、社区)人民政府(办事处、管委会)、村(居)民委员会、企业事业单位等组织应当结合各自实际,通过多种形式广泛开展突发事件应对工作的法律、法规和自救互救等应急知识的宣传普及活动。
(2)学校、幼儿园应当在县教育主管部门指导下,将应急知识教育纳入教学内容,根据学生的年龄和认知能力,采取多种形式开展应急知识教育,培养学生的安全意识和自救与互救能力。
(3)县、镇区(街道、社区)及其有关部门应当建立健全应急管理培训制度,增强应急管理、专业技术等人员应对突发事件的处置能力。企业事业单位应当定期开展应急管理法律法规、安全管理制度、安全操作规程以及应急知识等方面的教育和培训,提高职工的全员安全防范意识和能力,提高本单位主要负责人、安全生产管理人员和应急管理人员应对突发事件的能力。
5.6 责任与奖惩
(1)根据有关规定,建立健全应急管理工作领导负责制和责任追究制。
(2)公民按照各级人民政府要求,参加应急救援工作或者协助维护社会秩序期间,其在本单位的工资待遇和福利不变;对突发事件应急管理工作中作出突出贡献的先进集体和个人,给予表彰或奖励。
(3)对迟报、谎报、瞒报和漏报突发事件重要情况,应急处置不力,或者应急管理工作中有其他失职、渎职行为的,造成严重后果的单位和个人,依法依规给予行政处分,构成犯罪的,依法追究刑事责任。
5.7 监督检查
(1)县、镇区(街道、社区)及有关行政主管部门应当对应急预案体系建设及落实情况进行监督检查。
(2)县应急管理局会同县各专项应急机构组成部门定期督促检查各镇(街道、社区)和各部门及重点部位应急工作准备情况。
(3)对未按规定制定应急预案,或未按规定履行应急预案管理法定职责,造成后果的,由上级行政机关或者监察机关依照有关规定对其直接负责的主管人员和其他直接责任人员追究责任;构成犯罪的,依法追究法律责任。
6 附 则
(1)本预案由县应急管理局起草,报县人民政府批准后组织实施。县应急管理局根据需要及时组织评估,向县人民政府提出修订建议。
(2)县人民政府有关部门,各镇(街道、社区)人民政府(办事处、管委会)按本预案的规定履行职责,并制订、完善相应的应急预案及其支撑性文件。
(3)本预案自发布之日起实施。法律、法规对预案要求另有规定的,从其规定。
附件:解读

